
Lắp đặt hệ thống gas công nghiệp
Gas công nghiệp (LPG, CNG...) là môi chất có nguy cơ cháy nổ cao thuộc danh mục có yêu cầu nghiêm ngặt về an toàn lao động. Việc thiết kế, lắp đặt hệ thống gas công nghiệp đòi hỏi phải có nhiều kinh nghiệm và phải tuân thủ nghiêm ngặt các yêu cầu mà các tiêu chuẩn chuyên nghành quy định.
Lắp đặt hệ thống gas công nghiệp đòi hỏi đơn vị thiết kế, lắp đặt, kiểm tra phải tuân thủ nghiêm ngặt các quy định tại các tiêu chuẩn ngành về lĩnh vực khí đốt (gas) và phòng chống cháy nổ nhằm đảm bảo an toàn và tiết kiệm khi sử dụng hệ thống.
Các hệ thống cung cấp gas công nghiệp thông dụng:
Hệ thống cung cấp khí đốt cho lò nung, lò hơi
Hệ thống cung cấp nguyên liệu LPG trong các ngành sản xuất nhựa, xốp, mút …
Cung cấp khí đốt (LPG) cho bếp ăn công nghiệp, bếp ăn nhà hàng, khách sạn
Hệ thống gas trung tâm cung cấp khí đốt phục vụ sinh hoạt trong các cụm dân cư hay chúng cư
Khi lắp đặt hệ thống gas công nghiệp phải chú ý đến các vấn đề chính sau.
Yêu cầu chung về lắp đặt hệ thống gas công nghiệp
Khi thiết kế, lắp đặt hệ thống gas công nghiệp ngoài mục đích sử dụng an toàn và tiết kiệm thì hệ thống đó phải đáp ứng:
Trữ lượng tồn chứa phải phù hợp với nhu cầu sử dụng
Có áp suất và lưu lượng phù hợp với mục đích sử dụng
Sử dụng các thiết bị (đường ống, bồn chứa, máy hóa hơi, van điều áp, van khóa …) phù hợp với các tiêu chuẩn chuyên ngành.
Đảm bảo khoảng cách vận hành an toàn
Đơn vị thiết kế, lắp đặt hệ thống gas công nghiệp phải có chuyên môn và kinh nghiệm
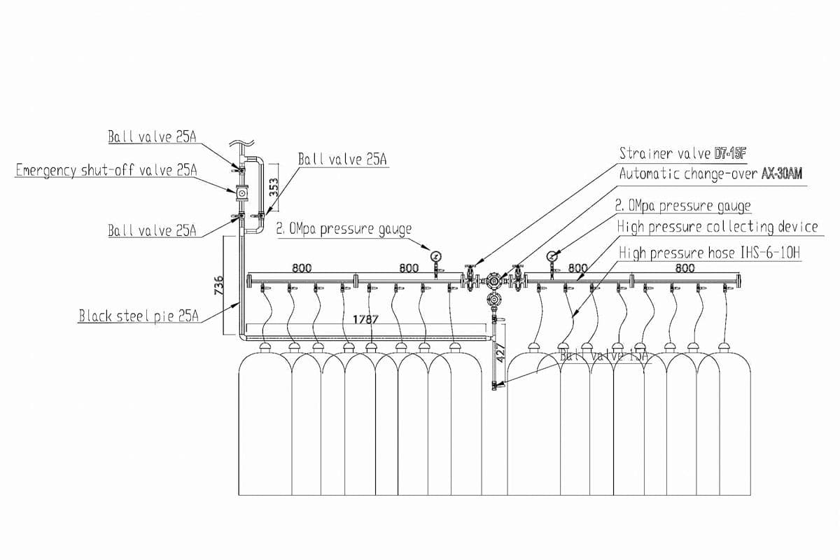
Các thiết bị chính trong hệ thống gas công nghiệp
Hệ thống cung cấp gas công nghiệp thường có các thiết bị chính sau:
Thiết bị tồn trữ gas (bồn chứa, chai chứa)
Đường ống dẫn (ống thép Carbon, ống đồng, ống mềm chuyên dụng, ống cao su hoặc nhựa chuyên dụng)
Van điều áp
Các van khóa và van điều khiển

Lựa chọn các thiết bị, vật tư khi lắp đặt hệ thống gas công nghiệp phải tuân thủ nghiêm ngặt các yêu cầu của tiêu chuẩn thiết kế, lắp đặt và sử dụng gas chuyên dụng.
Trữ lượng kho chứa gas (LPG)
Để xác định trữ lượng kho chứa gas công nghiệp hiệu quả thì đơn vị thiết kế phải:
Xác định công suất tiêu thụ của các thiết bị đang sử dụng nhiên liệu cũng như nhu cầu tiêu thụ trong tương lai.
Năng lực của nhà cung cấp LPG nhằm đảm bảo sử dụng liên tục.
Công suất cấp hơi của hệ thống tồn chứa. Điều này quyết định việc lựa chọn hình dạng bồn chứa (bề mặt bay hơi của bồn), số lượng chai chứa, máy hóa hơi bổ sung. Việc xác định công suất hơi phải lưu ý đến nhiệt độ môi trường sử dụng.
Các quy định của pháp luật (PCCC) mà địa phương đó quy định
Thiết bị tồn trữ gas công nghiệp
Chọn thiết bị tồn chứa LPG (bồn chứa hay chai chứa) trong hệ thống gas công nghiệp phụ thuộc vào:
Vị trí lắp đặt
Công suất tiêu thụ
Chi phí đầu tư
Khả năng đáp ứng của nhà cung cấp gas
Vị trí lắp đặt kho chứa gas
Khi chọn vị trí lắp đặt trạm chứa gas công nghiệp phải thỏa mãn các quy định của pháp luật về tồn trữ LPG tại nơi tiêu thụ:
Quy định về phòng chống cháy nổ (PCCC) của địa phương
Các quy chuẩn quốc gia, quy chuẩn ngành về LPG
Các tiêu chuẩn kỹ thuật về an toàn trong thiết kế, lắp đặt, sử dụng LPG
Tối ưu hóa khoảng cách giữa trạm cung cấp với thiết bị sử dụng cuối cùng

Các cấp áp suất trên hệ thống gas công nghiệp

Trên hệ thống cung cấp gas công nghiệp có nhiều cấp áp suất (cao áp, trung áp, hạ áp). Việc lựa chọn các cấp áp suất hay các cụm van điều áp trên hệ thống gas công nghiệp phụ thuộc vào:
Áp suất sử dụng thiết bị cuối cùng
Lưu lượng cần cung cấp
Khoảng cách và kích thước đường ống cũng như các trở lực do các thiết bị gắn trên hệ thống gây nên
Do các yêu cầu về an toàn mà tiêu chuẩn thiết kế quy định
Việc chọn lựa các cấp áp suất phù hợp sẽ giúp cho quá trình vận hành hệ thống an toàn và tiết kiệm hơn.
Các hệ thống, phương tiện PCCC
Khí đốt là nhiên liệu có khả năng cháy nổ cao. Khi thiết kế, lắp đặt hệ thống gas công nghiệp phải thiết kế hệ thống PCCC phù hợp nhằm đảm bảo an toàn cho người và tài sản khi hệ thống xảy ra sự cố.
Về chúng tôi
Công ty Kiểm định & Thử nghiệm Sài Gòn (SITC) là đơn vị có nhiều kinh nghiệm trong tư vấn, thiết kế, lắp đặt hệ thống cung cấp gas công nghiệp. Các dịch vụ mà SITC cung cấp là:
Kiểm định an toàn hệ thống tồn chứa và cung cấp khí đốt
Thử nghiệm áp suất từng phần hoặc toàn bộ hệ thống cũng như các thiết bị tồn chứa, thiết bị an toàn trên hệ thống
Tư vấn, giám sát, chế tạo thiết bị tồn chứa (bồn chứa) và lắp đặt hệ thống cung cấp gas công nghiệp
Khi có nhu cầu tư vấn về hệ thống gas công nghiệp hay các vấn đề liên quan đến việc sử dụng khí đốt hãy liên với SITC. Chúng tôi sẽ phản hồi trong thời gian sớm nhất.